Статья и перевод патента, но в патенте очень много воды, поэтому она слегка "слита". Эту воду вы можете добыть из варианта на английском, если приспичит.
Для безопасности рекомендуется строго следить, чтобы вода покрывала электроды, иначе проскочившая искра воспламенит гремучий газ, и если он рванет - мало не покажется! Лучше с этой целью в верхней части установки устроить датчик контроля уровня, автоматически отключающий питание при понижении уровня воды. Также хорошей идеей будет использование обратного гасителя пламени, который обычно представляет собой трубку, наполненную сухим песком и расположенную вблизи горелки.
"Изобретатель из США Стэнли Мэйер разработал электрическую ячейку, которая позволяет разделять обыкновенную водопроводную воду на водород и кислород с гораздо меньшей затратой энергии, чем требуется при обычном электролизе. Она производит гораздо больше водородо-кислородной смеси, чем при простом электролизе.
Обычный электролиз воды требует большие токи, измеряемые в амперах, ячейка Мэйер производит тот же эффект при милиамперах. Более того, обыкновенная водопроводная вода требует добавления электролита, например, серной кислоты, для увеличения проводимости - ячейка Мэйер напротив действует при огромной производительности с чистой водой. Ячейки Мэйера остаётся холодной даже после многих часов производства газа.
Электроды сделаны из параллельных пластин нержавеющей стали, образующие либо плоскую, либо концентрическую конструкцию. Выход газа зависит обратно пропорционально расстоянию между ними; предлагаемое патентом расстояние 1.5 мм дает хороший результат.
Значительные отличия заключаются в питании ячейки. Мэйер использует внешнюю индуктивность, которая образует колебательный контур с емкостью ячейки, - чистая вода, по-видимому, обладает диэлектрической проницаемостью около 5, - чтобы создать параллельную резонансную схему. Она возбуждается мощным импульсным генератором, который вместе с емкостью ячейки и выпрямительным диодом составляет схему накачки. Высокая частота импульсов производит ступенчато поднимающийся потенциал на электродах ячейки до тех пор, пока не достигается точка, где молекула воды распадается и возникает кратковременный импульс тока. Схема измерения тока питания выявляет этот скачок и запирает источник импульсов на несколько циклов, позволяя воде восстановиться.
Выход газа достаточный, чтобы поддерживать водородно-кислородное пламя, которое мгновенно может плавить сталь.
Одна демонстрационная ячейка была снабжена двумя параллельными электродами возбуждения. После наполнения водопроводной водой, электроды генерировали газ при очень низких уровнях тока - не больше, чем десятые доли ампера, и даже милиамперы, как заявляет Мэйер, - выход газа увеличивался, когда элекроды сдвигались более близко, и уменьшался, когда они отодвигались. Потенциал в импульсе достигал десятков тысяч вольт.
Вторая ячейка содержала 9 ячеек с двойными трубками из нержавеющей стали и производила намного больше газа. Была сделана серия фотографий, показывающая производство газа при милиамперном уровне. Когда напряжение было доведено до предельного, газ выходил в очень впечатляющем количестве.
Практическая демонстрация ячейки Мэйер\'а является существенно более убедительной, чем псевдо-научный жаргон, который использован для объяснения. Изобретатель лично говорил об искажении и поляризации молекулы воды, приводящему к самостоятельному разрыву связи под действием градиента
электрического поля, резонанса в пределах молекулы, который усиливает эффект.
Не считая обильного выделения кислорода и водорода и минимального нагревания ячейки, очевидцы также сообщают, что вода в внутри ячейки исчезает быстро, переходя в ее составные части в виде аэрозоли из огромного количества крошечных пузырей, покрывающих поверхность ячейки.
Мэйер заявил, что у него работает конвертер водородно-кислородной смеси в течение последних 4 лет, использующий цепочку из 6 цилиндрических ячеек. Он также заявил, что фотонное стимулирование пространства реактора светом лазера посредством оптоволокна увеличивает производство газа.
Метод производства топливного газа (США Пат # 4.936,961)
Тема изобретения: Это изобретение описывает топливную камеру и процесс, в котором молекулы воды разбиваются на водород и кислород, и другие, растворенные в воде газы. Здесь и далее используется термин "топливная ячейка", относящийся к данному изобретению, содержащему конденсаторную водяную камеру, которая, как будет объяснено далее, вырабатывает топливный газ в соответствии с описанным методом.
Кратко, изобретение представляет собой метод получения смеси водорода и кислорода и других растворенных в воде газов. Процесс заключается в следующем:
(A) конденсатор, в котором вода заключена в качестве диэлектрической жидкости между обкладками, включенный в последовательную резонансную схему с дросселем;
(B) к конденсатору прикладывается пульсирующее однополярное напряжение, в котором полярность никак не связана с внешним заземлением, благодаря чему молекулы воды в конденсаторе подвержены заряду той же полярности и молекулы растягиваются под действием электрических полярных сил;
(C) подбирают частоту импульсов, поступающих на конденсатор, соответствующую собственной частоте резонанса молекулы;
(D) продолжительное действие импульсов в режиме резонанса приводит к тому, что уровень колебательной энергии молекул возрастает с каждым импульсом;
(E) комбинация пульсирующего и постоянного электрического поля приводит к тому, что в некоторый момент сила электрической связи в молекуле ослабляется настолько, что сила внешнего электрического поля превосходит энергию связи, и атомы кислорода и водорода освобождаются как самостоятельные газы;
(F) сбор готовой к употреблению смеси кислорода, водорода и других растворенных в воде газов в качестве топлива.

Рис.1. Состояние молекул воды: A - случайное; B - ориентация молекул вдоль силовых линий поля;
C - поляризация молекулы; D - удлиннение молекулы; E - разрыв ковалентной связи; F - освобождение газов.
Оптимальный выход газа достигается в резонансной схеме. Частота подбирается равной резонансной частоте молекул. Для изготовления пластин конденсатора отдается предпочтение нержавеющей стали марки T-304, которая не взаимодействует с водой, кислородом и водородом. Начавшийся выход газа управляется уменьшением эксплуатационных параметров. Поскольку резонансная частота фиксирована, производительностью можно управлять с помощью изменения импульсного напряжения, формы или количества импульсов.


Повышающая катушка намотана на обычном тороидальном ферритовом сердечнике 1.50 дюйма в диаметре и 0.25 дюйма толщиной. Первичная катушка содержит 200 витков 24 калибра, вторичная 600 витков 36 калибра. Диод типа 1N1198 служит для выпрямления переменного напряжения. На первичную обмотку подаются импульсы скважности 2. Трансформатор обеспечивает повышение напряжения в 5 раз, хотя оптимальный коэффициент подбирается практическим путем. Дроссель содержит 100 витков калибра 24, в диаметре 1 дюйм.
В последовательности импульсов должен быть короткий перерыв. Через идеальный конденсатор ток не течет. Рассматривая воду как идеальный конденсатор, убеждаемся, что энергия не будет расходоваться на нагрев воды. Реальная вода обладает некоторой остаточной проводимостью, обусловленной наличием примесей. Лучше, если вода в ячейке будет химически чистой. Электролит к воде не добавляется. В процессе электрического резонанса может быть достигнут любой уровень потенциала. Как отмечалось выше, емкость зависит от диэлектрической проницаемости воды и размеров конденсатора. В примере схемы два концентрических цилиндра 4 дюймов длиной составляют конденсатор. Расстояние между поверхностями цилиндров 0.0625 дюйма. Резонанс в схеме был достигнут при импульсе 26 вольт, приложенном к первичной обмотке.

В любой резонансной схеме при достижении резонанса ток минимален, а выходное напряжение максимально. Расчет резонансной частоты традиционный. Вторую индуктивность подстраивают в зависимости от чистоты воды так, чтобы потенциал, приложенный к воде, был постоянен. Расход воды контролируется любым подходящим способом. Настройка аппарата несложна для квалифицированного специалиста.
Диод 1N1198 можно заменить на NTE5995 или ECG5994. Это импульсные диоды на 40 ампер 600 вольт (40 А - куда столько?!, похоже это была перестраховка во время начальных экспериментов).
Нержавеющая сталь T304 великолепна, но но другие типы должны работать так же. T304 просто более доступна. Внешняя трубка подгоняется под размер 3/4 дюйма 16 калибра (толщина стенки 0.06 дюйма), длиной 4 дюйма. Внутренняя трубка диаметром 1/2 дюйма 18 калибра (стенка 0.049 дюйма, это приблизительный размер для этой трубки, фактический калибр не может быть вычислен из патентной документации, но этот размер должен работать), 4 дюйма длиной.
Вам потребуется присоединить два проводника к трубкам. Используйте для этого нержавеющие стержни и бескислотный припой! Вы должны также предусмотреть, чтобы трубки были разделены. Это можно сделать с помощью небольшого куска пластика. Он не должен препятствовать свободному прохождению воды.
Не указано, должна ли быть вода внутри трубки. Думается, что она там есть, но это совершенно не влияет на работу прибора. Патент не говорит, но некоторая изоляция проводов не повредила бы (и, видимо, не должна быть опасной). Частота не была напечатана, исходя из размера катушек и трансформатора, частота не превышает 50 Khz. Не упирайтесь в этот факт, это всего лишь догадка. Генератор не показан, только черный ящик. Не забудьте поделиться вашими результатами с другими! Жадность - вот что мешает таким вещам увидеть свет и сделать мир немного лучше!
Наилучшие пожелания, Stefan Hartmann, c/o Workshop for Decentral Energy Research email to: leo@zelator.in-berlin.de
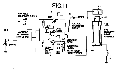
Обнаружились еще несколько дополнительных схем:


Один из примеров изготовления реактора:
